ディスク/SDカード挿入口

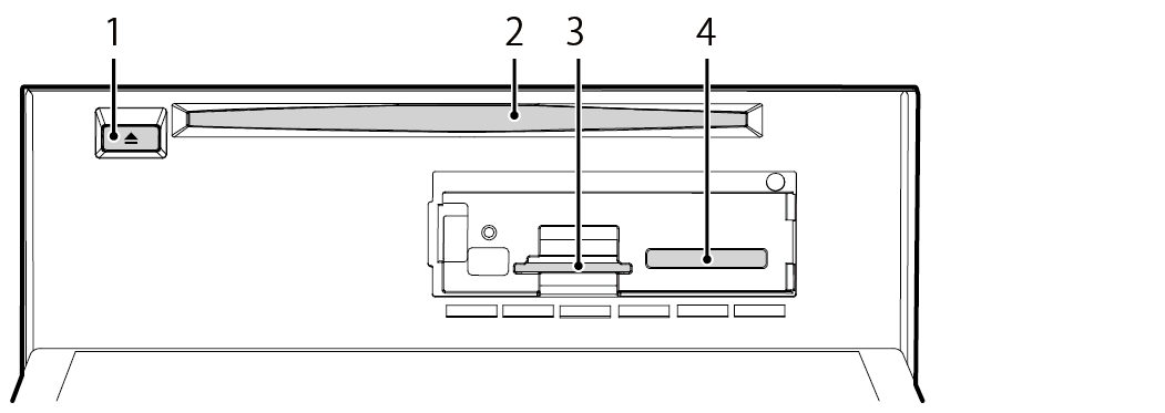
1.ディスクイジェクトスイッチ

ディスクを取り出します。ディスクが取り出せないときは、5秒以上押すとディスクが押し出されます。

2.ディスク挿入口

3.B-CASカード挿入口

4.SDカード挿入口


メールでのお問い合わせ